近年来,随着人们对知识产权保护意识的不断增强,消费市场对于知识产权业务的需求逐渐增加,市场上涌现出了大量的知识产权代理机构。二十多年前,国内知识产权事业刚起步时,仅有一百多家代理机构,如今中国知识产权代理机构的数量也已经超过了三万多家。
面对越来越激烈的市场竞争,如何精准获客、低成本获客,成为了知识产权代理机构面临的一道难题。之前电话营销是知识产权行业有效的获客方式,但是知识产权行业具有一定的专业性,电话营销又重复枯燥,造成人员流动就大,人工成本变高,终影响企业的业绩提升。那么有没有什么行之有效的方法可以解决这样的问题呢?随着互联网技术的发展,成本低廉、精准度高、应用范围广的邮件营销可以帮助知识产权企业解决获客难题。

知识产权代理企业如何通过邮件营销做到低成本精准获客?下面就由U-Mail邮件营销平台营销经理何工结合具体案例为大家一一讲解。
一、收集客户邮箱地址,选择佳发送时间
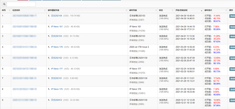
下图是北京康信知识产权代理有限责任公司通过U-Mail邮件营销平台进行邮件群发的效果统计,它的成功率都在95%以上,邮件打开率也超过了10%,这个客户他邮件营销的效果非常不错,据客户反馈,成交率也很高。

北京康信知识产权代理有限责任公司发送效果统计
为什么这个客户的邮件营销效果这么好?主要是客户前期通过各种途径收集意向用户的邮箱,然后根据地区、行业进行分类。在U-Mail邮件营销平台营销顾问的指导下,针对不同行业、不同地区的用户进行有针对性的邮件营销活动。其次,该客户选择邮件发送的时间都在邮件佳发送时间段内,U-Mail邮件营销平台经过后台数据分析认为在工作日的上午10点至12点,下午3点至5点是发送邮件好的时间段。
二、打造有吸引力的邮件内容
明途知识产权有限公司是早和U-Mail邮件营销平台合作的知识产权代理公司,邮件营销现在已经成为了企业主要的营销渠道之一,通过发送效果统计可以看到他们每次的邮件营销效果成功率、点击率、打开率都很不错。他们除了大量收集精准的用户邮箱地址之外,还不断在邮件内容上下功夫,比如他们这次的邮件模内容并不是单纯的推广性质的邮件,而是结合了具体的知识产权侵权案例,来宣传知识产权保护的重要性,提高客户对知识产权的认知,促进客户申报相关的知识产权,这样就把潜在客户转化为了意向客户。

明途知识产权有限公司发送效果统计

明途知识产权有限公司部分邮件模板
三、邮件营销平台选择
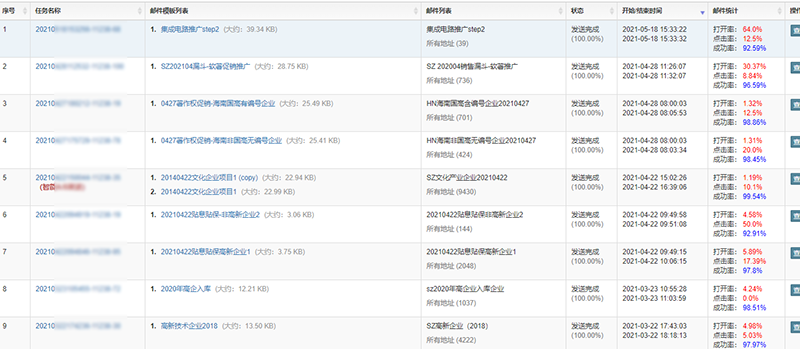
深圳市商证知识产权代理有限公司开始进行邮件营销选择的是一些小规模的群发平台和邮件群发软件,在群发邮件的过程中经常出现各种问题,导致邮件营销效果不理想。后来企业营销负责人找到U-Mail邮件营销平台,在U-Mail营销顾问的协助下,邮件营销的效果得到了明显的改善,通过下图可以看出他们每次邮件群发的成功率都达到92%以上,高的达到99.54%,打开率也很不错。并且他们善于使用各种辅助功能,比如在邮件主题和邮件内容中插入一些变量来提高邮件内容针对性,或者使用多模板多主题功能来提高邮件的送达率。

深圳市商证知识产权代理有限公司发送效果统计

深圳市商证知识产权代理有限公司邮件模板
U-Mail邮件营销平台自主研发邮件群发技术,采用分布于全球的服务器,多IP地址群发,为企业提供强大的邮件群发服务,可实现日均千万级邮件发送,送达率高。如果您也想通过邮件营销实现精准获客,点击链接申请免费试用U-Mail邮件营销。
温馨提示:为了保障邮件群发效果,U-Mail邮件营销平台不发这些内容:游戏相关产业、灰色行业、违法违规内容等。

![]() |
|
| 免费电话: 400-8181-568 | |
| 客服QQ: 1796435816 | |
| 地址: 深圳市福田区车公庙泰然六路雪松大厦A座8A | |
![]() |
|
![]() |
微信扫一扫,直接与客服沟通 |
| 申请免费试用 | |