马上又快到了一年一度的广交会期间,广交会作为中外厂商交流洽谈的盛会,目前已超过六十年的历史。每一年的广交会期间,胜友云集,世界各国的厂商都带来了它们的拳头产品,而成交金额也是相当可观。广交会期间,一个展位就是一扇完美展示的橱窗,可谓一位难求。对于很多从事外贸的企业来说,这也是一年一度的黄金机会,可以广交朋友,可以拓展异国业务……广州亚广进出口贸易有限公司用U-Mail邮件群发平台广泛联系外商,为即将到来的广交会成功做好了铺垫。
广州亚广进出口贸易有限公司成立于2010年,是一家产品多元化发展方向集团化、国际化的大型企业,促进中国对外贸易的专业服务机构。公司在众多营销渠道中果断选择与U-Mail合作,是对营销趋势的深刻领悟,也建立在对U-Mail邮件群发平台的优势、特性有所了解的基础上。
外贸行业采用邮件群发实在是好的选择,主要有几个原因:
1.首先外贸客户来源地域广泛,邮件能够打破地域限制,瞬时抵达客户案头。
2.邮件可自由选择时间发送,限度的网罗潜在客户;比方说欧洲A国的客户时区跟B国的客户不同,那么群发邮件时就可以根据对方时区做出相应的调整,在U-Mail邮件群发平台后台自动设定时间发送;还可以根据客户感兴趣的时间段针对性的集中发送。
3.邮件非常方便展开个性化营销;A国的客户阅读习惯和做生意的方式可能跟B国不一样,C国民众贪图实惠,D国消费者热爱高品质,那么营销人员在文案撰写和版式设计时就需要针对性的调整,让营销做到个性化,恰恰是拥有多个模板多个主题设计、变量功能丰富的U-Mail邮件群发平台擅长的。
目前,邮件在欧美发达国家,仍然是商务往来主要交流工具,保存在邮件中的信息具有一定权威性,可作为法律上的呈堂证供。但是海外通邮要克服复杂迥异的互联网环境干扰,尤其是海外一些国家基础设施建设落后,而一些反垃圾组织联盟则对中国IP段抱有偏见,当企业大规模群发时,必然增大了“垃圾邮件”嫌疑者概率。
那么广州亚广为啥选择U-Mail作为营销合作伙伴呢?主要是看中了U-Mail的几大优势:
1.软硬件基础设施建设完善,U-Mail在海外投巨资广设服务器,构筑了一个完善的服务网络;拥有一支专业水准高的工程师队伍,能提供周到服务。
2.U-Mail历史悠久,是国内早开展邮件通联解决方案研究的服务商之一,谙熟邮件发送机制,送达率非常高。
3.U-Mail有多种机制和手段可以规避被列入“黑名单”,如IP库中有上万IP开展轮巡发送,其中有一些美誉度非常高;如可以定制多达几十个变量,在一个发送任务中可以设计多个模板多个主题等等。
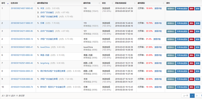
下面便是公司的群发邮件模板,诸位可以看看它充分利用了U-Mail的多模板多主题设计功能。

而群发后的效果统计又非常清晰、准确。
如果你从事外贸行业,希望本文案例对你有所帮助,更多U-Mail邮件营销平台客户案例点击网址http://www.magvision.com/foreign/了解!

![]() |
|
| 免费电话: 400-8181-568 | |
| 客服QQ: 1796435816 | |
| 地址: 深圳市福田区车公庙泰然六路雪松大厦A座8A | |
![]() |
|
![]() |
微信扫一扫,直接与客服沟通 |
| 申请免费试用 | |