现如今职场带给人们的压力越来越大,许多职场人士开始将国企、事业单位作为自己的求职目标,但是想要进入“体制内”,就必须通过各种各样的人事考试。为了有效解决事业单位在人事考试过程中普遍存在的程序烦琐,工作量大,效率低下等问题,减轻管理人员工作负担,降低考务管理成本,提高单位人事考试信息化管理水平。不少机关事业单位把人事考试外包给第三方考试测评服务中心。
安徽天科人才服务有限公司是一家专业化的人事人才考试测评与服务中心,提供专业化、标准化、科学化的考试命题、试卷印制、试卷押运、阅卷评分、外派考官的笔试、面试等等考试服务。致力于政府机关、事业单位等部门的线上线下公开招聘选拔、遴选人才等各级各类考试,天科人才自2017成立以来,已陆续为多家机关事业单位招考提供了优质服务,累计完成测评项目一千多个,服务考生十多万人。

但是在日常的考试过程中,天科人才也有一些困扰,一些考生会因为工作忘记了考试时间,也有一些考生完全不知道考试流程,所以该中心想要做到能够在考试前提醒考生,可是却一时没有找到合适的办法。如果逐一打电话通知,人手肯定不够,并且需要额外支出高昂的话费,那么发短信提醒呢?短信字数有限制不能把考试通知完整送达。于是他们想到了通过电子邮件来发送考试通知。
考试通知邮件模板如下:

天科人才找到了U-Mail邮件群发平台,并且与其他邮件群发平台对比之后,觉得U-Mail邮件群发平台无论是在稳定性、投递能力、可靠性上都要优于其他平台。在售前客服的帮助下,免费试用了U-Mail邮件群发平台,邮件群发的效果也非常理想,于是天科人才正式决定与U-Mail邮件群发平台合作,通过群发邮件来向考生发送考试通知。
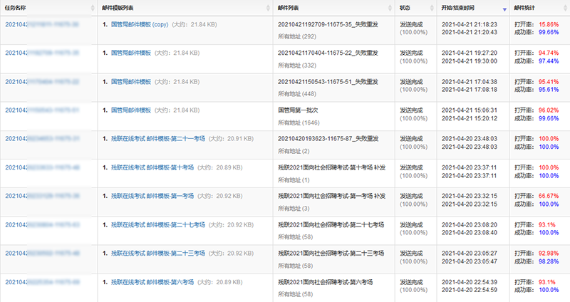
天科人才邮件群发发送效果很好,成功率99%以上,打开率也基本上是95%以上,效果统计如下:

U-Mail邮件群发平台为什么能在众多平台中脱颖而出?
首先,U-Mail邮件群发平台十几年来为数万家企业提供邮件群发服务,沉淀了丰富经验和营销技巧,其次,U-Mail邮件群发平台自主研发邮件群发软件,在海内外部署有大量服务器和海量固定IP资源,强大的软硬件支持是邮件群发成功率的重要保障。并且U-Mail技术研发团队一直在优化平台功能,持续推出了无效邮箱地址免费清洗、邮件预发送效果检测、多模板多变量、A/B智能投递、可视化模板编辑器等特色功能,满足企业全方位的邮件群发需求。
如果您也有邮件群发的需求,可以点击申请免费试用U-Mail邮件群发平台。
温馨提示:为了保障邮件群发效果,U-Mail邮件营销平台不发这些内容:游戏相关产业、灰色行业、违法违规内容等。

![]() |
|
| 免费电话: 400-8181-568 | |
| 客服QQ: 1796435816 | |
| 地址: 深圳市福田区车公庙泰然六路雪松大厦A座8A | |
![]() |
|
![]() |
微信扫一扫,直接与客服沟通 |
| 申请免费试用 | |